|
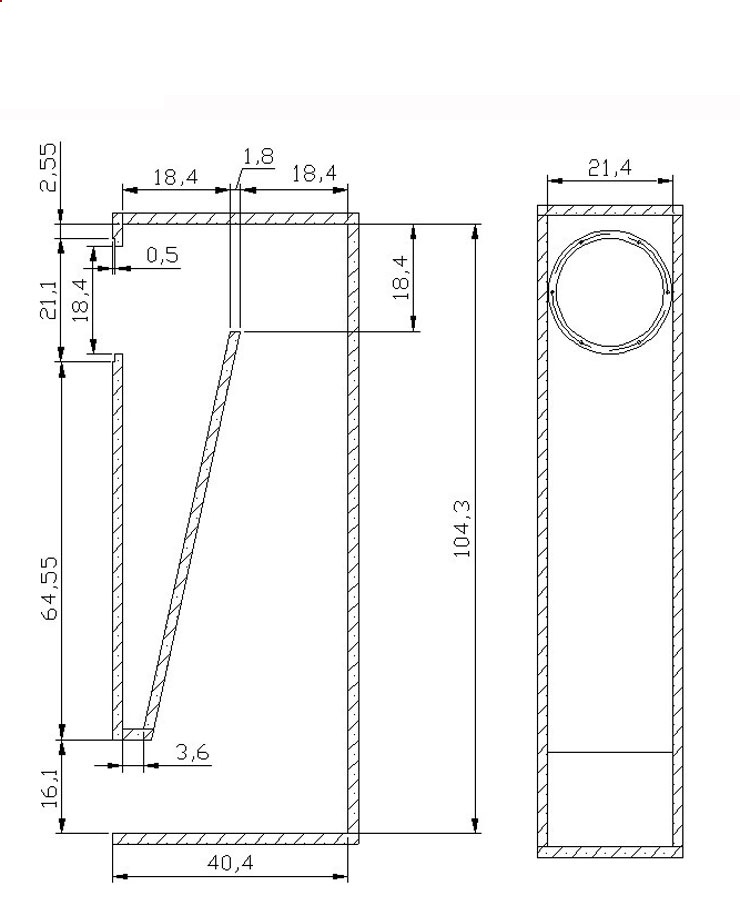
Учитывая что эта тема затрагивается вскользь решил ее поднять , желающие пообсуждать прошу. Несколько лет назад прочитал про трубу Войта, отзывы про нее , взял циркулярку, несколько створок от старого шкафа, 4А28 ( оттренировал по Горынычу) , собрал, проклеил внутри автошумкой( вспененный полистирол на герлене)и...когда включил , то начал сравнивать с винтажом Кенвуд12"( не помню марку) на пене,Техникс ( тоже уже не помню , где-то с метр высотой, а не помню потому что сразу из памяти вычеркнул подобный тип акустики) то TQWP явно выигрывал ,потом подарил их молодому парню , он решил тоже заняться ламповой темой , да.... слушал их на двойном моно , также собранном на коленке из 2 Ригонд 102( мой первый ламповый опыт) , после замены конденсаторов по питанию в схеме .С тех пор я не слушаю камень,даже нет желания , и вовсю увлекся темой TQWP. Но сначала сделал себе обратный рупор на 4А32 , пока устраивает , но TQWP плотно сидит в голове . купил под них с неплохими заявленными характеристиками дины . 8 и 6,5 дюймов . Заказал ящики по рекомендации изготовителя., сейчас в стадии обслушивания этой акустики, могу сразу сказать что 12 " 4А32 в обратном рупоре однозначно выигрывают по отдаче. давлению , я думаю это касается всех динамиков с малым диффузором. Так этим приходится добавлять гари в усе .
| Вложения: |

UT8EOaDXetaXXagOFbXz.jpg [ 138.9 КБ | Просмотров: 2343 ]
|

АЧХ 6,5.jpg [ 130.27 КБ | Просмотров: 2343 ]
|

подвес.jpg [ 120.4 КБ | Просмотров: 2343 ]
|

оригинал.jpg [ 57.29 КБ | Просмотров: 2343 ]
|

магнит6,5.jpg [ 142.77 КБ | Просмотров: 2343 ]
|
|